Montaje rápido y sencillo:
taladrar,
colocar,
atornillar… y listo.

Qué es y cómo funciona Expando-T
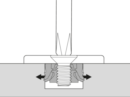
EXPANDO T es un innovador sistema de fijación oculto para materiales de alta densidad y desde 8 mm de espesor. Especialmente diseñado para
frentes de muebles como fijación para bisagras,
compases abatibles en puertas batientes y/o guías de cajón, caceroleros o módulos extraíbles.
Está formado por una estructura híbrida de dientes de acero para una firme sujeción para materiales
duros y corona de plástico para materiales blandos.
Este sistema permite realizar tres aplicaciones con un solo componente, simplificando el proceso de
diseño y montaje.
Materiales compatibles
EXPANDO T es adecuado para una amplia variedad de materiales utilizados en la fabricación de muebles, siempre que tengan:
Espesor mínimo de 8 mm
Estabilidad y firmeza suficiente
Esto incluye materiales de alta densidad:
- Mármol, granito, piedra natural.
- Porcelánico: Silestone®, Dekton®, Neolith, Ascale, Aethernum...
- Corian®, Krion®, Solid Surface, compacto fenólico, HPL.
- Composites y fibra de carbono

Aplicaciones destacadas
EXPANDO T es adecuado para una amplia variedad de materiales utilizados en la fabricación de muebles,
-Muebles de cocina, baño y salón con frentes delgados
- Cajones y módulos extraíbles
- Puertas con bisagras integradas
como BLUMOTION sin cazoleta
- Diseños con caceroleros/cajones interiores o exteriores
- Proyectos de mobiliario contemporáneo que requieren estética limpia y funcionalidad avanzada



Beneficios clave
Rapidez
Montaje rápido y sencillo: taladrar, colocar, atornillar… y listo.
Eficiencia
Compatibilidad universal: se adapta a múltiples materiales y sistemas Blum.
Ecológico
Sostenibilidad y confianza: desarrollado con responsabilidad social y ambiental.
Vídeo demostrativo de colocación
Observa el funcionamiento real del sistema Expando
Colección EXPANDO-T
Ofrecemos la colección
completa de esta gama
de Blum



